
인터넷이 안될 때
일당 50만원짜리 알바

- 원심 분리(centrifugation) :입자의 원심력을 이용하여 고체로부터 액체를 분리하는 방법, 은 중력 여과기가 발전된 것
- 원심 분리는 강력하고 고효율이므로 최근에는 그 용도가 다양
(1) 원심 분리 원리
- 고체 입자가 고정된 공간, 즉 유체를 통과할 때 입자의 속도는 부력과 마찰력에 영향을 받게 된다.
- 원심 분리 시 입자가 유체 내에 있으면 부력으로 인해 입자에 작용하는 원심력이 일부 감소
- 유체 내에서 입자가 이동하면 이동에 반대하는 마찰력이 작용
- 원심력 장에서 입자에 작용하는 힘의 관계

(2) 원심 분리 방법
1) 편차 원심 분리(differential centrifugation)
2) 밀도 기울기 원심 분리
- 밀도 기울기 원심 분리법은 편차 원심 분리의 경우와 달리 균질용액 대신에 밀도 기울기를 이용
- 용액의 밀도는 튜브 아래로 내려갈수록 증가하기 때문에 원심 분리 중의 대류에 의한 혼합을방지
- 밀도 기울기 원심 분리 방법
① 속도 침강 원심 분리(Rate-zonal centrifugation)
- 밀도 기울기를 이용한 방법으로 크기가 다른 입자가 동시에 침전하는 문제점을 극복할 수 있기 때문에 단백질, RNA, 리보좀(ribosome) 등의 분리에 이용
② 등밀도 원심 분리(isopycnic centrifugation)
- 밀도에 기초하여 입자를 순수하게 분리하는 방법이며, 입자의 크기는 입자의 등밀도 위치에 도달하는 속도에만 영향
- 입자가 등밀도 위치에 존재하기 때문에 오랜 시간 동안 고속으로 원심 분리하여도 입자에 아무런 영향을 주지 않고 바닥에 가라앉지도 않는 특징

그림 Ⅴ-23 속도 침강 원심 분리에 의한 입자의 분리 그림 Ⅴ-24 등밀도 원심 분리에 의한 입자의 분리
(3) 주요 원심 분리기( types of centrifuge)
1) 원통식 원심 분리기(tubular centrifugal separator)
- 샤플레스(Sharples)형이 대표적이며, 보울(bowl)의 지름은 5~10cm 정도이고, 회전수는 15,000~50,000 rpm, 원심 효과는 13,000~60,000 정도이다.
2) 분리판형 원심 분리기(disk-type centrifugal settler)
- 드래블형이 대표이며, 통지름은 30~50 cm, 회전수는 5,000~6,000rpm, 원심 효과는 7,000 정도이다. 드래블형은 샤플레스형에 비해서 원심 효과는 작지만 처리 능력은 크다.

3) 원심 경사 분리기(centrifugal decanter)
- 수평축형 경사 분리기(decanter)가 많이 쓰이며, 샤플레스형, 드래블형은 고형분이 많은 현탁액의 처리에는 적합하지 않지만 원심 경사 분리기(decanter)는 다량의 고형물을 포함한 현탁액의 처리에 알맞다. 원심 효과는 500~2,000 정도이다.

그림 Ⅴ-27 원심 경사 분리기
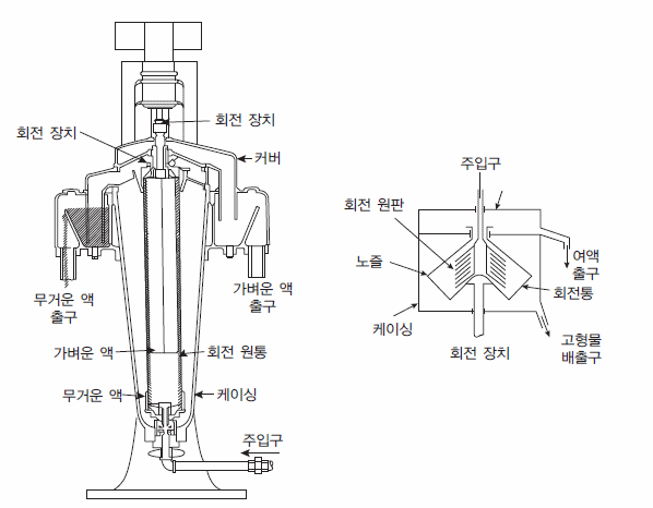
4) 원심 여과기(centrifugal filter)
- 여과 장치를 비치한 원심 분리기를 보통 원심 여과기라고 한다.
- 회전축의 방향에 따라 수직식과 수평식으로 구별하고, 전자는 소규모의 회분식에, 후자는 비교적 대규모의 연속식에 알맞다.
- 또 원심 여과기(centrifugal filter)에는 원심 침강기(centrifugal settler)의 보울(bowl) 부분을 바스킷(basket)이라 부르며, 보통바스킷(basket)형 분리기라 한다.

그림 Ⅴ-28 원심분리기