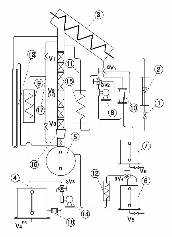
1. 장치의 구조 및 명칭

① 냉각수 입구    ② 냉각수 유량계    ③ 응축기    ④ 공급액 탱크    ⑤ Reboiler

⑥ 탑하부 생성물 탱크     ⑦ 탑상부 생성물 탱크    ⑧ 환류펌프    ⑨ 공급액예열기 ⑩ 응축액받이    ⑪ 환류 공급선    ⑫ 탑하부 생성물 응축기     ⑬ Manometer

⑭ 공급액펌프     ⑮ 환류액예열기     액면계     ⑰ Feed 공급선  ⑱ 공급용액 휠타

3V1~3V4 = 3Way valve V1~V5 = 밸브